Navigation

Application of Thomas F. Facius

Davidson C. Miller, John F. Witherspoon, Stevens, Davis, Miller & Mosher, Washington, D. C., for appellant.

Joseph Schimmel, Washington, D. G. (Joseph F. Nakamura, Washington, D. C., of counsel), for the Commissioner of Patents.

Before WORLEY, Chief Judge, and RIGH, SMITH, ALMOND, and BALDWIN, Judges.

BALDWIN, Judge.

This appeal is from the Patent Office Board of Appeals decision affirming the examiner's rejection of claims 1-4, all of the claims in appellant's application.1) “as being unpatentable over the disclosure in Engalitcheff 2) in view of the disclosure in Dargavel 3) under 35 U.S.C. § 103.”

THE INVENTION

The invention “relates to evaporative heat exchangers -and in particular to improved apparatus for the distribution . of water over a heat exchange surface.”

The specification states:

A water distribution system involving troughs spaced apart so that air could flow between them is disclosed in * * * [Engalitcheff]. This invention involves an. improvement over the disclosure of that patent.

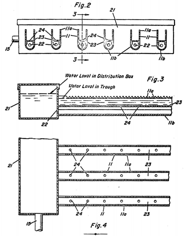
The invention is reflected in representative claim 1, subdivided herein. with bracketed reference numerals added, when considered with reference to appellant's Figures 3 and 4 below:

1. A system for maintaining an even level of water in a series of troughs [11], each having notched side walls and being spaced apart in the same plane that comprises

an elongated chamber [23];

an elongated reservoir [25],

a common wall [24] between said chamber and reservoir and defining holes [28] at spaced intervals therealong,

the wall [27] of said reservoir opposite said common wall defining a plurality of outlet
parts [29), each communicating directly with an end of one of said troughs,

said ports generally conforming to the interior cross sectional shape of the trough served.

Additional structural features are recited in claims 2-4, but it will be apparent that we need not consider them.

Water issuing from a conduit 16 enters chamber 23 near the center thereof, flows through holes 28 in wall 24, and establishes a stable liquid level in reservoir 25. Reservoir 25 drains through wall 27 via ports 29 into the respective troughs 11 which spill water through notches 13 onto a heat exchange surface.

Appellant's application is assigned to Baltimore Aircoil Company, Inc.

THE REFERENCES

Engalitcheff, which issued prior to appellant's filing date, also is assigned to Baltimore Aircoil Company, Ine., and “relates to evaporative heat exchangers and in particular to improved apparatus for the distribution of water over a heat exchange surface.” The specification states that:

there has been developed a system of troughs which can be filled to a predetermined level and which will spill water through notches * * * Such * * * is disclosed in copending application S.N. 240,199 * * *. However, the apparatus of that patent application requires an overhead water

supply to the troughs which * * * prevent[s] the flow of air countercurrent to the water. * * *


It is an object of the present invention to improve upon the system of application S.N. 240,199 by providing a trough water distribution system which * * * permit[s] the water and air to flow in countercurrent relationship * * *.

As illustrated in Figures 2-4 above, Engaliteheff discloses a water distribution system comprising parallel troughs 11 with notched side walls and an elongated water distribution box 21 at one end of the troughs. ·The water distribution box has an inlet conduit 15 and a series of orifices 22 for evenly distributing and metering the proper flow of water into each trough. A horizontal baffle 23 is provided in each trough;and the baffle has spaced orifices 24 to enable even water distribution in the upper part of the trough. Engalitcheff states that:

The feeding of water from the ends of the troughs 11 by the system of the present invention results in a very steady head of water in each trough throughout the length thereof even when that length is quite substantial. * * * [T]here is the further advantage that this manner of feeding the troughs allows its usage with counterflow heat exchangers * * *.

Dargavel discloses a humidifier in which water is supplied to one end of a trough-shaped body, The water supply means, attached to one end of the trough-shaped body, comprises a shell-like body and a valve chamber which are separated by a common wall. Water enters the valve chamber through an inlet nipple and flows through an orifice in the common wall into the shell-like body and then into the trough-shaped body. As will be apparent, no further discussion of Dargavel is necessary.

THE REJECTION

In his first action, the examiner stated:

Claims 1-4 are rejected as being unpatentable over the disclosure in Engalitcheff in view of the disclosed chamber 16 and reservoir 12 of Dargavel under 35 USC 103. Engalitcheff discloses the claimed structure except for the use of a “chamber” as well as a reservoir. In view of the disclosed use of the combination of a chamber 16 and reservoir 12 in Dargavel, the use of a chamber in the device of Engalitcheff would be additive only, thus obvious in the sense of 35 USC 103.

In response thereto, purportedly under the provisions of Rule 131,4) appellant submitted his own affidavit, the pertinent passages of which read:

(4) That he [Facius] assisted in the development of the heat exchange apparatus which is illustrated and described in Patent No. 3,146,609, working with John Engalitcheff, Jr., * * *;

(5) That his contribution to the apparatus illustrated in Patent No. 3,146,609 was the water distribution box;

(6) That he. did not develop the trough structure shown and claimed in said patent, said trough structure being the sole invention of said John Engalitcheff, Jr.;

(7) That the application above identified was filed for the purpose of claiming his invention, that is the water distribution box. Accordingly, he knows that the water distribution box shown in Patent No. 3,146,609 was known to him before April 27, 1964, since it was his own design. [Emphases added.]

Appellant also submitted the patentee Engalitrheff's affidavit which stated:

That he [Engalitcheff] has read the Affidavit of Thomas F. Factus .* * and that the statements of said Affidavit are to his personal knowledge true and accurate.

The examiner found the affidavits insufficient to comply with Rule 131; he then made final the aforementioned rejection.

In affirming the examiner, the board stated:

The bare allegation in appellant's affidavit that the water distribution box shown in the Engalitcheff patent is his contribution and was known to him prior to April 27, 1964, the filing

date of the patent, and the bare statement in Engalitcheff's affidavit that the statements in appellant's affidavit are accurate are not a showing of facts within the contemplajion of Rule l3l(b). * * *

1)
Serial No. 425.783, filed January 15, 1965, for “Water Supply System.”
2)
U.S. Patent 3,146.609, issued September 1, 1964, on an applicaton filed April 27, 1964.
3)
U.S. Patent 1,676,943, issued July 10, 1928.
4)
Although it seems clear that appellant's characterization of the affidavits as “Affidavits under Rule 131” was a misnomer, we said in In re Land, 368 F.2d 866, 879SO, 54 CCP A 806, 825 (1966): “[Tlhe proper subject of inquiry [is] not compliance with Rule 131 but what the evidence [shows] as to who invented the subject matter disclosed by [the reference] which was relied on to support the rejection” and “[e]vidence of such a state of facts, whatever its form, must be considered.” [Emphasis supplied.] Even though the affidavits fail to satisfy the requirements of Rule 131, they are “affidavits traversing grounds of rejection,” which are permitted under Rule 132, and may be considered as evidence.

User Tools